Стационарные ультразвуковые увлажнители воздуха
Lorem ipsum dolor sit amet, consectetur adipisicing elit, sed do eiusmod tempor incididunt ut labore et dolore magna aliqua. Ut enim ad minim veniam, quis nostrud exercitation ullamco laboris nisi ut aliquip ex ea commodo consequat.
Ультразвуковые генераторы водяного аэрозоля, предназначенные для образования и распыления водяного тумана, с целью увлажнения воздуха жилых, офисных и складских помещений, производственных цехов, климатических и холодильных камер.
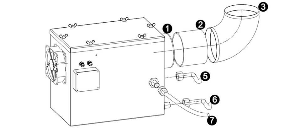
Функционально увлажнитель воздуха состоит из трех модулей: блок питания, модуль увлажнения и модуль контроля влажности (МКУ). Модуль контроля влажности может быть выполнен в виде отдельного выносного блока, либо встроен в блок питания. Блоки соединены друг с другом проводами. Питание увлажнителя происходит от одного источника электроэнергии 220/380 В.
Блок питания преобразует переменное напряжение 220/380 В в переменное напряжение 24 – 48 В. После этого выходной сигнал выпрямляется и в резонансном контуре формируется высокочастотный сигнал около 1,7 МГц.
Модуль увлажнения представляет собой нержавеющую емкость (окрашенную или неокрашенную) с тремя патрубками:подвод воды, промывка емкости, перелив. На дне емкости располагаются один или несколько блоков ультразвуковых мембран (рисунок 2.8). Каждый блок содержит в себе 1, 4, 6 или 10 мембран и 1 или 2 датчика уровня воды в зависимости от производительности.
Работа блоков ультразвуковых мембран построена на пьезоэлектрическом эффекте. Пьезоэлектрический преобразователь (ультразвуковая мембрана) представляет собой тонкую пластинку, изменяющую свою толщину в соответствии с частотой переменного электрического поля.
Сигнал с блока питания подается на ультразвуковые мембраны, толщина которых изменяется в соответствии с подводимой частотой 1,7 МГц, то есть 1,7*106 раз в секунду.
Ультразвуковые колебания распространяются вплоть до граничного слоя между водой и воздухом. Поскольку вода в силу своей инерции масс не может следовать этим колебаниям, после включения увлажнителя над каждым излучателем создается водяной столб. В результате кавитации возникают перекрестные капиллярные волны, на гребнях которых отделяются мельчайшие частицы (диаметром 1 – 5 мкм), образуя аэрозольный туман. Этот туман немедленно захватывается воздушным потоком, вызывая тем самым изменение влажности воздуха.
